 
                        四氯化锡
                                
					【用途一】
用作分析试剂和媒染剂,也用于有机合成
                        用作分析试剂和媒染剂,也用于有机合成
【用途二】
四氯化锡是合成杀螨剂三环锡、苯丁锡和三唑锡的中间体。
【用途三】
用于合成有机锡化合物的原料,染色的媒染剂,制造蓝晒纸和感光纸、润滑油添加剂,玻璃表面处理以形成导电涂层和提高抗磨性。用作异丁烯、α-甲基苯乙烯等的阳离子聚合催化剂。
【用途四】
从铷和铯中分离钾。有机分析中用于皂化酚和醚。有机合成脱水剂。有机锡的制造。织物染色。
					
						
					 
					
				                            四氯化锡是合成杀螨剂三环锡、苯丁锡和三唑锡的中间体。
【用途三】
用于合成有机锡化合物的原料,染色的媒染剂,制造蓝晒纸和感光纸、润滑油添加剂,玻璃表面处理以形成导电涂层和提高抗磨性。用作异丁烯、α-甲基苯乙烯等的阳离子聚合催化剂。
【用途四】
从铷和铯中分离钾。有机分析中用于皂化酚和醚。有机合成脱水剂。有机锡的制造。织物染色。
产品名称
                           - 
                                   中文名无水四氯化锡
- 
                                   英文名Tin(IV) chloride
- 
                                   中文别名氯化高锡 | 氯化锡(IV) | 发烟氯化高锡 | 无水氯化锡 | 四氯化锡(IV) | 四氯化锡
- 
                                   英文别名Stannane, tetrachloro- SnCl4 tin tetrachloride TIN(IV) TETRACHLORIDE Stannic chloride, anhydrous [UN1827] [Corrosive] MFCD00011242 Tetrachlorotin Stannic chloride Tetrachlorostannane Stannic tetrachloride EINECS 231-588-9 
- 
                                   常用名四氯化锡
- 
                                   C A S号7646-78-8
物理性质
                            - 
                                    密度2.226
- 
                                    沸点114.1±0.0 °C at 760 mmHg
- 
                                    熔点-33ºC
- 
                                    化学式Cl4Sn
- 
                                    结构式1、摩尔折射率:无可用 2、摩尔体积(cm3/mol): 无可用 3、等张比容(90.2K):无可用 4、表面张力(dyne/cm):无可用 5、极化率:无可用 
- 
                                    闪点34°F
- 
                                    分子量260.522
- 
                                    精确质量259.777618
- 
                                    P S A
- 
                                    外观形状透明至略黄色冒烟的液体
- 
                                    储存条件储存注意事项 储存于阴凉、干燥、通风良好的库房。远离火种、热源。库温不超过30℃,相对湿度不超过75%。包装必须密封,切勿受潮。应与易(可)燃物、碱类、醇类等分开存放,切忌混储。储区应备有泄漏应急处理设备和合适的收容材料。 
- 
                                    稳定性
- 
                                    水溶解性
- 
                                    形态
- 
                                    H L B值
- 
                                    粘度
- 
                                    PH值
作用/用途
                            
                                
					【用途一】
用作分析试剂和媒染剂,也用于有机合成
                        用作分析试剂和媒染剂,也用于有机合成
【用途二】
四氯化锡是合成杀螨剂三环锡、苯丁锡和三唑锡的中间体。
【用途三】
用于合成有机锡化合物的原料,染色的媒染剂,制造蓝晒纸和感光纸、润滑油添加剂,玻璃表面处理以形成导电涂层和提高抗磨性。用作异丁烯、α-甲基苯乙烯等的阳离子聚合催化剂。
【用途四】
从铷和铯中分离钾。有机分析中用于皂化酚和醚。有机合成脱水剂。有机锡的制造。织物染色。
					
						
					 
					
				                            四氯化锡是合成杀螨剂三环锡、苯丁锡和三唑锡的中间体。
【用途三】
用于合成有机锡化合物的原料,染色的媒染剂,制造蓝晒纸和感光纸、润滑油添加剂,玻璃表面处理以形成导电涂层和提高抗磨性。用作异丁烯、α-甲基苯乙烯等的阳离子聚合催化剂。
【用途四】
从铷和铯中分离钾。有机分析中用于皂化酚和醚。有机合成脱水剂。有机锡的制造。织物染色。
制备方法
                            
                                1.金属锡氯化法   将金属锡熔融,然后泼入冷水,激成锡花,加入反应器中,通入干燥氯气进行反应,生成四氯化锡。由于产物中有过量的游离氯而呈黄色。可加入几片锡薄片,加热蒸馏,用干燥容器接收105~120℃的馏分,制得无水氯化锡成品。其反应式:   
![7646-78-8 preparation]() 
 
   
![7646-78-8 preparation]() 图XIV-21 制备氯化锡的装置
       图XIV-21 制备氯化锡的装置   
![7646-78-8 preparation]() 图XIV-22 制备氯化锡的“双联式”装置   2.在通风橱内按图装配好仪器。大试管内装入锡粒至其体积的3/4。开始从导气管中缓慢地通入干燥的氯气,气流速度应使氯气能与锡充分反应为宜。反应很激烈,当试管底部聚集的SnCl4液层明显增厚时,适当提高导气管,但末端仍应没入溶液中。反应结束后将SnCl4倾入玻璃瓶中,加入少许锡粒用以与游离的氯作用,将此瓶密闭静置1h。蒸馏,收集112~114℃间的馏分,为防湿气侵入,接受器上应安装CaCl2干燥管。如果原料锡中含有铁,蒸馏不宜进行到底。所得SnCl4装入带玻璃塞或软木塞的玻璃瓶中。
    图XIV-22 制备氯化锡的“双联式”装置   2.在通风橱内按图装配好仪器。大试管内装入锡粒至其体积的3/4。开始从导气管中缓慢地通入干燥的氯气,气流速度应使氯气能与锡充分反应为宜。反应很激烈,当试管底部聚集的SnCl4液层明显增厚时,适当提高导气管,但末端仍应没入溶液中。反应结束后将SnCl4倾入玻璃瓶中,加入少许锡粒用以与游离的氯作用,将此瓶密闭静置1h。蒸馏,收集112~114℃间的馏分,为防湿气侵入,接受器上应安装CaCl2干燥管。如果原料锡中含有铁,蒸馏不宜进行到底。所得SnCl4装入带玻璃塞或软木塞的玻璃瓶中。 
![7646-78-8 preparation]() 
                            
                         
 
 图XIV-21 制备氯化锡的装置
       图XIV-21 制备氯化锡的装置   
 图XIV-22 制备氯化锡的“双联式”装置   2.在通风橱内按图装配好仪器。大试管内装入锡粒至其体积的3/4。开始从导气管中缓慢地通入干燥的氯气,气流速度应使氯气能与锡充分反应为宜。反应很激烈,当试管底部聚集的SnCl4液层明显增厚时,适当提高导气管,但末端仍应没入溶液中。反应结束后将SnCl4倾入玻璃瓶中,加入少许锡粒用以与游离的氯作用,将此瓶密闭静置1h。蒸馏,收集112~114℃间的馏分,为防湿气侵入,接受器上应安装CaCl2干燥管。如果原料锡中含有铁,蒸馏不宜进行到底。所得SnCl4装入带玻璃塞或软木塞的玻璃瓶中。
    图XIV-22 制备氯化锡的“双联式”装置   2.在通风橱内按图装配好仪器。大试管内装入锡粒至其体积的3/4。开始从导气管中缓慢地通入干燥的氯气,气流速度应使氯气能与锡充分反应为宜。反应很激烈,当试管底部聚集的SnCl4液层明显增厚时,适当提高导气管,但末端仍应没入溶液中。反应结束后将SnCl4倾入玻璃瓶中,加入少许锡粒用以与游离的氯作用,将此瓶密闭静置1h。蒸馏,收集112~114℃间的馏分,为防湿气侵入,接受器上应安装CaCl2干燥管。如果原料锡中含有铁,蒸馏不宜进行到底。所得SnCl4装入带玻璃塞或软木塞的玻璃瓶中。 
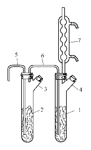
图制备氯化锡的装置图制备氯化锡的“双联式”装置
1,2—试管;3,4—支管;5—氯气导管;6—连接管;7—球形冷凝器
若大量制取(每天3kg)SnCl4,可采用如图的装置。当试管1中几乎充满SnCl4时,停止通氯气。在管5下面放一干燥的玻璃瓶,用橡皮球从冷凝管7上口向装置内吹气,则SnCl4被排入管5下面的玻璃瓶中。然后经支管向试管中再填装锡粒以继续反应。所接收的SnCl4的处置和提纯操作同上。产率可达90%~95%。 3. 采用金属锡氯化法。将金属锡熔融,然后泼入冷水,激成锡花,加入反应器中,通入干燥氯气进行反应,生成四氯化锡。由于产物中有过量的游离氯而呈黄色。可加入几片锡薄片,加热蒸馏,用干燥容器接收105~120℃的馏分,制得无水氯化锡成品。其反应式如下。 
                            安全提醒
                            MSDS
                            | 
 
 
 
 
 
 
 
 
 
 
 
 
 
 
 
 
 
 
 
 
 
 
 
 
 
 
 
 
 
 
 
 | |||||||||||||||||||||||||||||||||||||||||||||||||||||||||||||||||||||||||||||||||||||||||||||||||||||||||||||||||||||||||||||||||||||||||||||||||||||||||||||||||||||||||||||||||||||||||||||||||||||||||||||||||||||||
原料简介
                            应用范围
                            毒性和生态
                            安全信息
                            | 符号 |     GHS05, GHS07 | 
|---|---|
| 信号词 | Danger | 
| 危害声明 | H314-H335-H412 | 
| 警示性声明 | P260-P280-P303 + P361 + P353-P304 + P340 + P310-P305 + P351 + P338 | 
| 个人防护装备 | Faceshields;full-face respirator (US);Gloves;Goggles;multi-purpose combination respirator cartridge (US);type ABEK (EN14387) respirator filter | 
| 危害码 (欧洲) | C:Corrosive | 
| 风险声明 (欧洲) | R34;R40 | 
| 安全声明 (欧洲) | S23-S24/25-S26-S36/37-S45-S7/8 | 
| 危险品运输编码 | UN 1827 | 
| WGK德国 | 2 | 
| RTECS号 | XP8750000 | 
| 包装等级 | II | 
| 危险类别 | 8 | 
是否危险品
                            危险性
                            危险类别码
                            危险等级
                            触发危险方式
                            安全技术说明书
                            环境影响程度
                            包装与储运
                            相关供应商
     
        
 
                                     
                    
 
                 
            





 
                             
                 
                        