五氟化碘
产品名称
-
中文名五氟化碘
-
英文名Pentalfluoroiodide
-
中文别名五氟碘
-
英文别名
Einecs 232-019-7 Jodpentafluorid Iodine fluoride Fluorine iodide iodine pentafluoride Pentafluoroiodine Un2495 iodide pentafluoride IF5 MFCD00040534 Iodpentafluorid -
常用名五氟化碘
-
C A S号7783-66-6
物理性质
-
密度3,2 g/cm3
-
沸点104.5°C
-
熔点9.4°C
-
化学式F5I
-
结构式
-
闪点N/A
-
分子量221.89600
-
精确质量221.89600
-
P S A
-
外观形状淡黄色液体
-
储存条件库房通风低温干燥,与燃料、酸、有机物分开存放
-
稳定性
-
水溶解性
-
形态
-
H L B值
-
粘度
-
PH值
作用/用途
制备方法
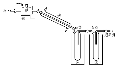
如图所示 制备五氟化碘的装置
制法 I2+5F2=2IF5
用有冷却套的鼓状铁筒作反应器(如图所示)。铁筒连接一个铁冷凝器,其后是两个石英制气体阱。
把碘装在反应器中,通入F2(尽可能不含HF)。冷却水可将反应热带走,并使留在反应器中的IF5不变成IF7。当装置末端有F2逸出时,反应结束。停止冷却反应器,把水套作水浴,外面用煤气灯加热,在F2气流中将IF5蒸出,当氟电解槽的电流为80A时要使250g I2完全反应,约需10h(包括蒸馏时间),按碘计产率90%。
安全提醒
MSDS
|
|||||||||||||||||||||||||||||||||||||||||||||||||||||||||||||||||||||||||||||||||||||||||||||||||||||||||||||||||||||||||||||||||||||||||||||||||||||||||||||||||||||||||||||||||||||||||||||||||||||||||||||||||||||||||||||||||||||||||||||||||||||||
原料简介
应用范围
毒性和生态
安全信息
| 危害码 (欧洲) | O: Oxidizing agent; |
|---|---|
| 风险声明 (欧洲) | R8 |
| 安全声明 (欧洲) | S7/9-S17-S36/37/39-S45 |
| 危险品运输编码 | 2495 |
| 包装等级 | I |
| 危险类别 | 5.1 |
是否危险品
危险性
危险类别码
危险等级
触发危险方式
安全技术说明书
环境影响程度
包装与储运
相关供应商

搜索







