氟化钛
用于制取钛氟玻璃
-
中文名氟化钛(III)
-
英文名titanium(+2) cation trifluoride
-
中文别名三氟化钛
-
英文别名
titanium(iii) fluoride EINECS 236-732-4 MFCD00042544 -
常用名氟化钛
-
C A S号13470-08-1
-
密度2.98
-
沸点1400ºC
-
熔点1200ºC
-
化学式F3Ti
-
结构式
1、摩尔折射率:无可用的
2、摩尔体积(cm3/mol):无可用的
3、等张比容(90.2K):无可用的
4、表面张力(dyne/cm):无可用的
5、介电常数:无可用的
6、极化率(10-24cm3):无可用的
7、单一同位素质量:104.943157 Da
8、标称质量:105 Da
9、平均质量:104.8622 Da
-
闪点N/A
-
分子量104.863
-
精确质量104.943703
-
P S A
-
外观形状紫罗兰色至紫色-红色粉末
-
储存条件
常温密闭,阴凉通风干燥
-
稳定性
-
水溶解性
-
形态蓝色晶体。在空气中稳定。
-
H L B值
-
粘度
-
PH值
用于制取钛氟玻璃
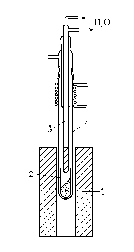
1.首先将金属钛在600~700℃进行氢化。随后采用如下所示的装置(见图),先将氢化钛置于小镍舟1中,再将镍舟放入水平放置的一端封闭的镍管中。于设备中通入氟化氢进行氟化。管3开口端装有冷却夹套,铜套4用云杉素密封固定。将焊锡焊接的两个铜管固定在铜套上,从铜管分别导入及排出氢气。再在氢气导入管处,按图所示通入银管,从银管中通入氟化氢。向外排出的气体通过聚乙烯瓶及装有石蜡油的鼓泡器,再经过聚乙烯捕集器冷凝除去过剩的氟化氢。将反应管密封一端置于电炉中进行加热,从外部测量温度。首先通入氢气对装置进行吹扫,随后通入氢与氟化氢的1∶4混合物,在700℃经4~5h进行氟化。氟化氢气流预先加热至200℃以上。为避免氟化氢冷凝,用于冷却夹套的水温必须高于20℃。氟化结束后,一边通入氢气,一边冷却。收率90%。
下图IV-1 三氟化钛的制备装置
1—镍舟;2—电炉;3—镍管;4—铜套;5—去通风系统
下图IV-2 三氟化钛的纯化装置
1—电炉;2—镍制坩埚;3—冷凝管;4—石英管
进一步纯化采用图Ⅳ2的升华装置。取粗产物5g置于镍坩埚中。再将坩埚放入石英管4的封闭端,石英管插入倾斜的电炉中。在管4的开口端安装附有导出管的承接管,并与真空泵连接起来,将水冷型铜制冷凝管3用云杉素固定在引出头上。此冷凝管的顶端安有铜制支管,使三氟化钛TiF3的结晶成长。在0.133~1.33Pa压力时氟化钛开始升华。于100℃加热4h左右,生成物的80%左右以鲜蓝色的结晶附集在冷凝管上。坩埚中残留下灰黑色的剩余组分。所制得的结晶为极纯品。
|
模块1. 化学品 1.1 产品标识符 : 氟化钛(III) 产品名称 1.2 鉴别的其他方法 Titanium trifluoride
1.3 有关的确定了的物质或混合物的用途和建议不适合的用途
仅用于研发。不作为药品、家庭或其它用途。 模块2. 危险性概述 2.1 GHS-分类 皮肤腐蚀 (类别 1B) 严重眼睛损伤 (类别 1) 2.2 GHS 标记要素,包括预防性的陈述 象形图 警示词危险 危险申明 H314造成严重皮肤灼伤和眼损伤。 警告申明 预防 P260不要吸入粉尘/烟/气体/烟雾/蒸气/喷雾。 P264操作后彻底清洁皮肤。 P280戴防护手套/穿防护服/戴护目镜/戴面罩. 响应 P301 + P330 + P331如误吞咽:漱口。不要诱导呕吐。 P303 + P361 + P353如皮肤(或头发)沾染:立即去除/ 脱掉所有沾染的衣服。用水清洗皮肤/ 淋浴。 P304 + P340如吸入: 将患者移到新鲜空气处休息,并保持呼吸舒畅的姿势。 P305 + P351 + P338如与眼睛接触,用水缓慢温和地冲洗几分钟。如戴隐形眼镜并可方便地取 出,取出隐形眼镜,然后继续冲洗. P310立即呼叫中毒控制中心或医生. P321具体治疗(见本标签上提供的急救指导)。 P363沾染的衣服清洗后方可重新使用。 储存 P405存放处须加锁。 处置 P501将内容物/ 容器处理到得到批准的废物处理厂。 2.3 其它危害物 遇水剧烈反应。, 接触酸后即释放出剧毒气体。 模块3. 成分/组成信息 3.1 物 质 : Titanium trifluoride 别名 : F3Ti 分子式 : 104.86 g/mol 分子量 组分浓度或浓度范围 Titanium trifluoride - 化学文摘登记号(CAS13470-08-1 No.)236-732-4 EC-编号 模块4. 急救措施 4.1 必要的急救措施描述 一般的建议 请教医生。 向到现场的医生出示此安全技术说明书。 吸入 如果吸入,请将患者移到新鲜空气处。 如呼吸停止,进行人工呼吸。 请教医生。 皮肤接触 立即脱掉被污染的衣服和鞋。 用肥皂和大量的水冲洗。 请教医生。 眼睛接触 用大量水彻底冲洗至少15分钟并请教医生。 食入 禁止催吐。 切勿给失去知觉者通过口喂任何东西。 用水漱口。 请教医生。 4.2 主要症状和影响,急性和迟发效应 该物质对粘膜组织和上呼吸道、眼睛和皮肤破坏巨大。, 痉挛,发炎,咽喉肿痛, 痉挛,发炎,支气管炎, 肺炎, 肺水肿, 灼伤感:, 咳嗽, 喘息, 喉炎, 呼吸短促, 头痛, 恶心 4.3 及时的医疗处理和所需的特殊处理的说明和指示 无数据资料 模块5. 消防措施 5.1 灭火介质 灭火方法及灭火剂 干粉 5.2 源于此物质或混合物的特别的危害 氟化氢, 钛/氧化钛 5.3 给消防员的建议 如必要的话,戴自给式呼吸器去救火。 5.4 进一步信息 无数据资料 模块6. 泄露应急处理 6.1 作业人员防护措施、防护装备和应急处置程序 戴呼吸罩。 避免粉尘生成。 避免吸入蒸气、烟雾或气体。 保证充分的通风。 人员疏散到安全区域。 避免吸入粉尘。 6.2 环境保护措施 不要让产品进入下水道。 6.3 泄漏化学品的收容、清除方法及所使用的处置材料 收集和处置时不要产生粉尘。 扫掉和铲掉。 不要用水冲洗。 放入合适的封闭的容器中待处理。 6.4 参考其他部分 丢弃处理请参阅第13节。 模块7. 操作处置与储存 7.1 安全操作的注意事项 避免形成粉尘和气溶胶。 在有粉尘生成的地方,提供合适的排风设备。 7.2 安全储存的条件,包括任何不兼容性 贮存在阴凉处。 使容器保持密闭,储存在干燥通风处。 贮存期间严禁与水接触。 不要贮存在酸附近。 7.3 特定用途 无数据资料 模块8. 接触控制和个体防护 8.1 容许浓度 最高容许浓度 组分化学文摘登 值容许浓度基准 记号(CAS No.) Titanium trifluoride13470-08-1 PC-2 mg/m3工作场所有害因素职业接触限值 - TWA化学有害因素 8.2 暴露控制 适当的技术控制 根据良好的工业卫生和安全规范进行操作。 休息前和工作结束时洗手。 个体防护设备 眼/面保护 面罩與安全眼鏡请使用经官方标准如NIOSH (美国) 或 EN 166(欧盟) 检测与批准的设备防护眼部。 皮肤保护 戴手套取 手套在使用前必须受检查。 请使用合适的方法脱除手套(不要接触手套外部表面),避免任何皮肤部位接触此产品. 使用后请将被污染过的手套根据相关法律法规和有效的实验室规章程序谨慎处理. 请清洗并吹干双手 所选择的保护手套必须符合EU的89/686/EEC规定和从它衍生出来的EN 376标准。 身体保护 全套防化学试剂工作服, 阻燃防护服, 防护设备的类型必须根据特定工作场所中的危险物的浓度和数量来选择。 呼吸系统防护 如危险性评测显示需要使用空气净化的防毒面具,请使用全面罩式多功能微粒防毒面具N100型(US )或P3型(EN 143)防毒面具筒作为工程控制的候补。如果防毒面具是保护的唯一方式,则使用全面罩式送风防毒 面具。 呼吸器使用经过测试并通过政府标准如NIOSH(US)或CEN(EU)的呼吸器和零件。 模块9. 理化特性 9.1 基本的理化特性的信息 a) 外观与性状 形状: 粉末 颜色: 淡棕 b) 气味 无数据资料 c) 气味阈值 无数据资料 d) pH值 无数据资料 e) 熔点/凝固点 无数据资料 f) 沸点、初沸点和沸程 无数据资料 g) 闪点 不适用 h) 蒸发速率 无数据资料 i) 易燃性(固体,气体) 无数据资料 j) 高的/低的燃烧性或爆炸性限度 无数据资料 k) 蒸气压 无数据资料 l) 蒸汽密度 无数据资料 m) 密度/相对密度 3.4 g/cm3 在 25 °C n) 水溶性 无数据资料 o) n-辛醇/水分配系数 无数据资料 p) 自燃温度 无数据资料 q) 分解温度 无数据资料 r) 粘度 无数据资料 模块10. 稳定性和反应活性 10.1 反应性 无数据资料 10.2 稳定性 无数据资料 10.3 危险反应 遇水剧烈反应。 10.4 应避免的条件 加热。 暴露在潮湿中。 10.5 不相容的物质 水, 强氧化剂, 酸 10.6 危险的分解产物 其它分解产物 - 无数据资料 模块11. 毒理学资料 11.1 毒理学影响的信息 急性毒性 无数据资料 皮肤刺激或腐蚀 无数据资料 眼睛刺激或腐蚀 无数据资料 呼吸道或皮肤过敏 无数据资料 生殖细胞突变性 无数据资料 致癌性 IARC: 此产品中没有大于或等于 0。1%含量的组分被 IARC鉴别为可能的或肯定的人类致癌物。 生殖毒性 无数据资料 特异性靶器官系统毒性(一次接触) 无数据资料 特异性靶器官系统毒性(反复接触) 无数据资料 吸入危险 无数据资料 潜在的健康影响 吸入吸入可能有害。 该物质对组织、粘膜和上呼吸道破坏力强 摄入如服入是有害的。 引致灼伤。 皮肤通过皮肤吸收可能有害。 引起皮肤灼伤。 眼睛引起眼睛灼伤。 接触后的征兆和症状 该物质对粘膜组织和上呼吸道、眼睛和皮肤破坏巨大。, 痉挛,发炎,咽喉肿痛, 痉挛,发炎,支气管炎, 肺炎, 肺水肿, 灼伤感:, 咳嗽, 喘息, 喉炎, 呼吸短促, 头痛, 恶心 附加说明 化学物质毒性作用登记: 无数据资料 模块12. 生态学资料 12.1 生态毒性 无数据资料 12.2 持久性和降解性 无数据资料 12.3 潜在的生物累积性 无数据资料 12.4 土壤中的迁移性 无数据资料 12.5 PBT 和 vPvB的结果评价 无数据资料 12.6 其它不良影响 无数据资料 模块13. 废弃处置 13.1 废物处理方法 产品 将剩余的和不可回收的溶液交给有许可证的公司处理。 与易燃溶剂相溶或者相混合,在备有燃烧后处理和洗刷作用的化学焚化炉中燃烧 受污染的容器和包装 按未用产品处置。 模块14. 运输信息 14.1 联合国危险货物编号 欧洲陆运危规: 3260国际海运危规: 3260国际空运危规: 3260 14.2 联合国运输名称 欧洲陆运危规: CORROSIVE SOLID, ACIDIC, INORGANIC, N.O.S. (Titanium trifluoride) 国际海运危规: CORROSIVE SOLID, ACIDIC, INORGANIC, N.O.S. (Titanium trifluoride) 国际空运危规: Corrosive solid, acidic, inorganic, n.o.s. (Titanium trifluoride) 14.3 运输危险类别 欧洲陆运危规: 8国际海运危规: 8国际空运危规: 8 14.4 包裹组 欧洲陆运危规: II国际海运危规: II国际空运危规: II 14.5 环境危险 欧洲陆运危规: 否国际海运危规国际空运危规: 否 海洋污染物(是/否): 否 14.6 对使用者的特别提醒 无数据资料 上述信息视为正确,但不包含所有的信息,仅作为指引使用。本文件中的信息是基于我们目前所知,就正 确的安全提示来说适用于本品。该信息不代表对此产品性质的保证。 参见发票或包装条的反面。 模块 15 - 法规信息 N/A 模块16 - 其他信息 N/A |
| 符号 |
GHS05 |
|---|---|
| 信号词 | Danger |
| 危害声明 | H314 |
| 补充危害声明 | Contact with acids liberates very toxic gas., Reacts violently with water. |
| 警示性声明 | P280-P305 + P351 + P338-P310 |
| 个人防护装备 | Eyeshields;Faceshields;full-face particle respirator type N100 (US);Gloves;respirator cartridge type N100 (US);type P1 (EN143) respirator filter;type P3 (EN 143) respirator cartridges |
| 危害码 (欧洲) | C: Corrosive; |
| 风险声明 (欧洲) | R20/21/22 |
| 安全声明 (欧洲) | 26-36/37/39-45 |
| 危险品运输编码 | UN 3260 8 |
| WGK德国 | 3 |
| 包装等级 | II |

搜索








