溴化钛
产品名称
-
中文名溴化钛(IV)
-
英文名Titanium(IV) bromide
-
中文别名四溴化钛 | 溴化钛
-
英文别名
EINECS 232-185-0 titanium(iv) bromide MFCD00011265 -
常用名溴化钛
-
C A S号7789-68-6
物理性质
-
密度3.25 g/mL at 25ºC(lit.)
-
沸点230ºC(lit.)
-
熔点38-40ºC(lit.)
-
化学式Br4Ti
-
结构式
-
闪点233ºC
-
分子量367.48300
-
精确质量363.62100
-
P S A
-
外观形状棕色晶体
-
储存条件
保持贮藏器密封
放入紧密的贮藏器内,储存在阴凉,干燥的地方
-
稳定性
-
水溶解性
-
形态橙黄色粉末,立方晶系结构
-
H L B值
-
粘度
-
PH值
作用/用途
制备方法
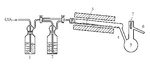
洗气瓶1、2中分别装入浓硫酸及干燥的溴。硼硅酸玻璃管3可用电炉加热,在反应管端连有蒸馏瓶5。在5的上部有一凹进瓶颈的玻璃管7,7中盛有蒸馏精制时测量用的汞。
图IV-5 四溴化钛的制备装置
称取40g二氧化钛及24g糖炭充分混合后,放入反应管3中。将电炉加热至300℃后,先通入二氧化碳,使全部装置系统充分干燥。在4处如果有水冷凝,可时时用火焰烘烤以逐出水分,6处连接干燥管,使二氧化碳经洗气瓶2导入,使电炉温度升至600℃。由于在4处有四溴化钛析出,所以应经常用火焰加热使析出物熔融,并流入烧瓶5中。反应结束后,用二氧化碳气流将过剩的溴逐出,取下6处的干燥管,使5与带有冷却器的容器相接,从4处切断熔封。加热5,收集230℃左右的馏分。收率为80%左右。
安全提醒
MSDS
|
溴化钛MSDS英文版
|
原料简介
应用范围
毒性和生态
安全信息
| 符号 |
GHS05 |
|---|---|
| 信号词 | Danger |
| 危害声明 | H314 |
| 补充危害声明 | Reacts violently with water. |
| 警示性声明 | P280-P305 + P351 + P338-P310 |
| 个人防护装备 | Eyeshields;Faceshields;full-face particle respirator type N100 (US);Gloves;respirator cartridge type N100 (US);type P1 (EN143) respirator filter;type P3 (EN 143) respirator cartridges |
| 危害码 (欧洲) | C: Corrosive; |
| 风险声明 (欧洲) | R14 |
| 安全声明 (欧洲) | 26-36/37/39-45 |
| 危险品运输编码 | UN 3260 8 |
| WGK德国 | 3 |
| 包装等级 | II |
是否危险品
危险性
危险类别码
危险等级
触发危险方式
安全技术说明书
环境影响程度
包装与储运
相关供应商

搜索







