二氧化锗
【用途一】
用于制锗,也用于电子工业
用于制锗,也用于电子工业
【用途二】
用于制金属锗,也用作光谱分析及半导体材料。
【用途三】
用于制定取锗锭、有机锗、锗酸铋晶体、催化剂、光纤用四氯化锗、荧光粉和锗玻璃等原料。
用于制金属锗,也用作光谱分析及半导体材料。
【用途三】
用于制定取锗锭、有机锗、锗酸铋晶体、催化剂、光纤用四氯化锗、荧光粉和锗玻璃等原料。
产品名称
-
中文名二氧化锗
-
英文名Germanium oxide
-
中文别名氧化锗 | 氧化锗(IV)
-
英文别名
Germanium oxide MFCD00011030 Germane, dioxo- GERMANIUM(IV) OXIDE Germanium dioxide EINECS 215-180-8 Germanium dioxide,electronic grade Dioxogermane -
常用名二氧化锗
-
C A S号1310-53-8
物理性质
-
密度6.239
-
沸点1200ºC
-
熔点1115ºC
-
化学式GeO2
-
结构式
1、摩尔折射率:无可用的
2、摩尔体积(cm3/mol):无可用的
3、等张比容(90.2K):无可用的
4、表面张力(dyne/cm):无可用的
5、介电常数:无可用的
6、极化率(10-24cm3):无可用的
7、单一同位素质量:105.911007 Da
8、标称质量:106 Da
9、平均质量:104.6388 Da
-
闪点N/A
-
分子量104.639
-
精确质量105.911011
-
P S A34.14000
-
外观形状白色粉末或无色晶体
-
储存条件
应贮存在通风、干燥的库房中。包装应密封、防潮,勿与碱类、酸类接触。装卸时要轻拿轻放,防止玻璃瓶破裂。
-
稳定性
-
水溶解性
-
形态无色结晶,有稍溶于水的六方晶系(低温稳定)和不溶性的正方晶系两种,转变温度为1033℃。
-
H L B值
-
粘度
-
PH值
作用/用途
【用途一】
用于制锗,也用于电子工业
用于制锗,也用于电子工业
【用途二】
用于制金属锗,也用作光谱分析及半导体材料。
【用途三】
用于制定取锗锭、有机锗、锗酸铋晶体、催化剂、光纤用四氯化锗、荧光粉和锗玻璃等原料。
用于制金属锗,也用作光谱分析及半导体材料。
【用途三】
用于制定取锗锭、有机锗、锗酸铋晶体、催化剂、光纤用四氯化锗、荧光粉和锗玻璃等原料。
制备方法
四氯化锗水解法在四氯化锗中加入6.5倍体积的蒸馏水,搅拌后放置一昼夜,生成二氧化锗沉淀,用冷水洗涤至洗液不含Cl-为止。于200℃干燥得到二氧化锗产品。其反应式:
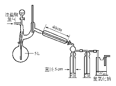
图XIV-19 四氯化锗的蒸馏装置
在实验室里制备高纯的二氧化锗,是将市场出售的二氧化锗制成四氯化锗,再将其蒸馏提纯,水解得到的。
图四氯化锗的蒸馏装置制法[370]烧瓶内装入二氧化锗和浓盐酸,装置如图。玻璃管的前端要浸入水里一段,接受槽加少量冰水冷却。边通氯气边蒸馏,取110℃以前的馏分。在蒸馏中为了防止烧瓶中盐酸浓度下降,要时常从滴液漏斗滴加浓盐酸。向流到接受槽的四氯化锗层(黄色)和盐酸溶液层加大量水(H2O∶GeCl4=65∶1),摇匀,放置一昼夜。四氯化锗即水解为二氧化锗。过滤,用冷水洗涤,200℃下干燥。
安全提醒
MSDS
|
模块1. 化学品 1.1 产品标识符 : 氧化锗(IV) 产品名称 1.2 鉴别的其他方法 Germanium dioxide
1.3 有关的确定了的物质或混合物的用途和建议不适合的用途
仅用于研发。不作为药品、家庭或其它用途。 模块2. 危险性概述 2.1 GHS-分类 急性毒性, 经口 (类别 4) 急性毒性, 吸入 (类别 4) 2.2 GHS 标记要素,包括预防性的陈述 象形图 警示词警告 危险申明 H302吞咽有害。 H332吸入有害。 警告申明 预防 P261避免吸入粉尘/烟/气体/烟雾/蒸气/喷雾. P264操作后彻底清洁皮肤。 P270使用本产品时不要进食、饮水或吸烟。 P271只能在室外或通风良好之处使用。 响应 P301 + P312如果吞下去了: 如感觉不适,呼救解毒中心或看医生。如吞咽:如感觉不适,呼叫解毒中 心或就医。 P304 + P340如吸入: 将患者移到新鲜空气处休息,并保持呼吸舒畅的姿势。 P312如感觉不适,呼救中毒控制中心或医生. P330漱口。 处置 P501将内容物/ 容器处理到得到批准的废物处理厂。 2.3 其它危害物 - 无 模块3. 成分/组成信息 3.1 物 质 : Germanium dioxide 别名 : GeO2 分子式 : 104.64 g/mol 分子量 组分浓度或浓度范围 Germanium dioxide - 化学文摘登记号(CAS1310-53-8 No.)215-180-8 EC-编号 模块4. 急救措施 4.1 必要的急救措施描述 一般的建议 请教医生。 向到现场的医生出示此安全技术说明书。 吸入 如果吸入,请将患者移到新鲜空气处。 如呼吸停止,进行人工呼吸。 请教医生。 皮肤接触 用肥皂和大量的水冲洗。 请教医生。 眼睛接触 用水冲洗眼睛作为预防措施。 食入 切勿给失去知觉者通过口喂任何东西。 用水漱口。 请教医生。 4.2 主要症状和影响,急性和迟发效应 长期或频繁接触会导致:, 可能发生对肾的伤害。, 可能发生对肝的伤害。, 血液病, 电解质失衡, 神经毒性, 据我们所知,此化学,物理和毒性性质尚未经完整的研究。 4.3 及时的医疗处理和所需的特殊处理的说明和指示 无数据资料 模块5. 消防措施 5.1 灭火介质 灭火方法及灭火剂 用水雾,抗乙醇泡沫,干粉或二氧化碳灭火。 5.2 源于此物质或混合物的特别的危害 氧化锗 5.3 给消防员的建议 如必要的话,戴自给式呼吸器去救火。 5.4 进一步信息 无数据资料 模块6. 泄露应急处理 6.1 作业人员防护措施、防护装备和应急处置程序 使用个人防护用品。 避免粉尘生成。 避免吸入蒸气、烟雾或气体。 保证充分的通风。 避免吸入粉尘。 6.2 环境保护措施 不要让产品进入下水道。 6.3 泄漏化学品的收容、清除方法及所使用的处置材料 收集和处置时不要产生粉尘。 扫掉和铲掉。 放入合适的封闭的容器中待处理。 6.4 参考其他部分 丢弃处理请参阅第13节。 模块7. 操作处置与储存 7.1 安全操作的注意事项 避免接触皮肤和眼睛。 避免形成粉尘和气溶胶。 在有粉尘生成的地方,提供合适的排风设备。一般性的防火保护措施。 7.2 安全储存的条件,包括任何不兼容性 贮存在阴凉处。 使容器保持密闭,储存在干燥通风处。 7.3 特定用途 无数据资料 模块8. 接触控制和个体防护 8.1 容许浓度 最高容许浓度 没有已知的国家规定的暴露极限。 8.2 暴露控制 适当的技术控制 根据良好的工业卫生和安全规范进行操作。 休息前和工作结束时洗手。 个体防护设备 眼/面保护 带有防护边罩的安全眼镜符合 EN166要求请使用经官方标准如NIOSH (美国) 或 EN 166(欧盟) 检测与批准的设备防护眼部。 皮肤保护 戴手套取 手套在使用前必须受检查。 请使用合适的方法脱除手套(不要接触手套外部表面),避免任何皮肤部位接触此产品. 使用后请将被污染过的手套根据相关法律法规和有效的实验室规章程序谨慎处理. 请清洗并吹干双手 所选择的保护手套必须符合EU的89/686/EEC规定和从它衍生出来的EN 376标准。 完全接触 联合国运输名称: 丁腈橡胶 最小的层厚度 0.11 mm 溶剂渗透时间: 480 min 测试过的物质Dermatril® (KCL 740 / Z677272, 规格 M) 飞溅保护 联合国运输名称: 丁腈橡胶 最小的层厚度 0.11 mm 溶剂渗透时间: 480 min 测试过的物质Dermatril® (KCL 740 / Z677272, 规格 M) , 测试方法 EN374 如果以溶剂形式应用或与其它物质混合应用,或在不同于EN 374规定的条件下应用,请与EC批准的手套的供应商联系。 这个推荐只是建议性的,并且务必让熟悉我们客户计划使用的特定情况的工业卫生学专家评估确认才可. 这不应该解释为在提供对任何特定使用情况方法的批准. 身体保护 全套防化学试剂工作服, 防护设备的类型必须根据特定工作场所中的危险物的浓度和数量来选择。 呼吸系统防护 如须暴露于有害环境中,请使用P95型(美国)或P1型(欧盟 英国 143)防微粒呼吸器。如需更高级别防护,请使用OV/AG/P99型(美国)或ABEK-P2型 (欧盟 英国 143) 防毒罐。 呼吸器使用经过测试并通过政府标准如NIOSH(US)或CEN(EU)的呼吸器和零件。 模块9. 理化特性 9.1 基本的理化特性的信息 a) 外观与性状 形状: 粉末 颜色: 白色 b) 气味 无数据资料 c) 气味阈值 无数据资料 d) pH值 无数据资料 e) 熔点/凝固点 熔点/凝固点: > 400 °C - lit. f) 沸点、初沸点和沸程 无数据资料 g) 闪点 不适用 h) 蒸发速率 无数据资料 i) 易燃性(固体,气体) 无数据资料 j) 高的/低的燃烧性或爆炸性限度 无数据资料 k) 蒸气压 无数据资料 l) 蒸汽密度 无数据资料 m) 密度/相对密度 3.637 g/cm3 在 25 °C n) 水溶性 无数据资料 o) n-辛醇/水分配系数 无数据资料 p) 自燃温度 无数据资料 q) 分解温度 无数据资料 r) 粘度 无数据资料 模块10. 稳定性和反应活性 10.1 反应性 无数据资料 10.2 稳定性 无数据资料 10.3 危险反应 无数据资料 10.4 应避免的条件 无数据资料 10.5 不相容的物质 强氧化剂 10.6 危险的分解产物 其它分解产物 - 无数据资料 模块11. 毒理学资料 11.1 毒理学影响的信息 急性毒性 半数致死剂量 (LD50) 经口 - 大鼠 - 1,250 mg/kg 半数致死浓度(LC50) 吸入 - 大鼠 - 4 h - > 1,420 mg/m3 备注: 肺,胸,或者呼吸系统:呼吸困难 皮肤及附属物:其他:头发。 营养与总代谢:体重降低或体重增长减小。 皮肤刺激或腐蚀 无数据资料 眼睛刺激或腐蚀 无数据资料 呼吸道或皮肤过敏 无数据资料 生殖细胞突变性 无数据资料 致癌性 IARC: 此产品中没有大于或等于 0。1%含量的组分被 IARC鉴别为可能的或肯定的人类致癌物。 生殖毒性 生殖毒性 - 大鼠 - 未报道的 对新生儿的影响:身体的。 发育毒性 - 大鼠 - 未报道的 特定发育异常:肌肉骨骼系统。 特异性靶器官系统毒性(一次接触) 无数据资料 特异性靶器官系统毒性(反复接触) 无数据资料 吸入危险 无数据资料 潜在的健康影响 吸入吸入有害。 可能引起呼吸道刺激。 摄入误吞对人体有害。 皮肤通过皮肤吸收可能有害。 可能引起皮肤刺激。 眼睛可能引起眼睛刺激。 接触后的征兆和症状 长期或频繁接触会导致:, 可能发生对肾的伤害。, 可能发生对肝的伤害。, 血液病, 电解质失衡, 神经毒性, 据我们所知,此化学,物理和毒性性质尚未经完整的研究。 附加说明 化学物质毒性作用登记: LY5240000 模块12. 生态学资料 12.1 生态毒性 12.2 持久性和降解性 无数据资料 12.3 潜在的生物累积性 无数据资料 12.4 土壤中的迁移性 无数据资料 12.5 PBT 和 vPvB的结果评价 无数据资料 12.6 其它不良影响 无数据资料 模块13. 废弃处置 13.1 废物处理方法 产品 将剩余的和不可回收的溶液交给有许可证的公司处理。 联系专业的拥有废弃物处理执照的机构来处理此物质。 与易燃溶剂相溶或者相混合,在备有燃烧后处理和洗刷作用的化学焚化炉中燃烧 受污染的容器和包装 按未用产品处置。 模块14. 运输信息 14.1 联合国危险货物编号 欧洲陆运危规: -国际海运危规: -国际空运危规: - 14.2 联合国运输名称 欧洲陆运危规: 非危险货物 国际海运危规: 非危险货物 国际空运危规: 非危险货物 14.3 运输危险类别 欧洲陆运危规: -国际海运危规: -国际空运危规: - 14.4 包裹组 欧洲陆运危规: -国际海运危规: -国际空运危规: - 14.5 环境危险 欧洲陆运危规: 否国际海运危规国际空运危规: 否 海洋污染物(是/否): 否 14.6 对使用者的特别提醒 无数据资料 模块 15 - 法规信息 N/A 模块16 - 其他信息 N/A |
原料简介
应用范围
毒性和生态
安全信息
| 符号 |
GHS07 |
|---|---|
| 信号词 | Warning |
| 危害声明 | H302 |
| 个人防护装备 | dust mask type N95 (US);Eyeshields;Faceshields;Gloves |
| 危害码 (欧洲) | Xn:Harmful; |
| 风险声明 (欧洲) | R22 |
| 安全声明 (欧洲) | 22-24/25 |
| 危险品运输编码 | NONH for all modes of transport |
| WGK德国 | 1 |
| RTECS号 | LY5240000 |
| 海关编码 | 2825600001 |
是否危险品
危险性
危险类别码
危险等级
触发危险方式
安全技术说明书
环境影响程度
包装与储运
相关供应商

搜索








