碘化钴
【用途一】
用作一般试剂、催化剂
用作一般试剂、催化剂
产品名称
-
中文名碘化钴(II)
-
英文名cobalt(ii) iodide
-
中文别名碘化钴
-
英文别名
EINECS 239-283-2 MFCD00016030 -
常用名碘化钴
-
C A S号15238-00-3
物理性质
-
密度5.68
-
沸点570ºC
-
熔点515ºC
-
化学式CoI2
-
结构式
-
闪点570ºC vac.
-
分子量312.74200
-
精确质量312.74200
-
P S A
-
外观形状powder
-
储存条件
常温密闭避光,通风干燥惰性气体下
-
稳定性
-
水溶解性
-
形态
-
H L B值
-
粘度
-
PH值
作用/用途
【用途一】
用作一般试剂、催化剂
用作一般试剂、催化剂
制备方法
αCoI2由钴粉在碘化氢气流中加热至400~500℃而得。ββCoI2由αCoI2在高真空升华而得。
将由草酸钴制得的金属钴粉在碘化氢气流中于400~500℃的温度下加热4~5h。生成的碘化钴在550℃下加热熔融,然后在真空中冷却,即得到α-CoI2。
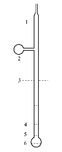
将所得的α-CoI2进行真空升华,可以得到β-CoI。升华装置如图所示,在570~575℃下进行真空升华时,6处为残留的金属钴,5处附着的α-CoI2,4处则同时附着有目的产物β-CoI及部分碘。接着将该管保持水平,从6至3的部分置于炉子上加热至100℃。此外,其他部分则用扇形火焰加热,使附着的碘汇集于1处,然后将4处的目的产物集中于2处。以氮气充满升华管后将2处熔融切开。本法用10g α-CoI2可制得大约0.8g β-CoI。
图IX-1 升华装置
安全提醒
MSDS
|
碘化钴MSDS英文版
|
原料简介
应用范围
毒性和生态
安全信息
| 符号 |
GHS07 |
|---|---|
| 信号词 | Warning |
| 危害声明 | H302 + H312 + H332-H315-H319-H335 |
| 警示性声明 | P261-P280-P305 + P351 + P338 |
| 个人防护装备 | dust mask type N95 (US);Eyeshields;Gloves |
| 危害码 (欧洲) | Xn |
| 风险声明 (欧洲) | R20/21/22;R36/37/38 |
| 安全声明 (欧洲) | S26;S36 |
| 危险品运输编码 | NONH for all modes of transport |
| WGK德国 | 3 |
是否危险品
危险性
危险类别码
危险等级
触发危险方式
安全技术说明书
环境影响程度
包装与储运
相关供应商

搜索







