二氧化铀
产品名称
-
中文名二氧化铀
-
英文名dioxouranium
-
中文别名
-
英文别名
EINECS 215-700-3 MFCD00049692 Nuclear reference material 238UO2 A Uranium dioxide uranium oxide -
常用名二氧化铀
-
C A S号1344-57-6
物理性质
-
密度10,96 g/cm3
-
沸点N/A
-
熔点2500ºC
-
化学式O2U
-
结构式
-
闪点N/A
-
分子量270.02800
-
精确质量270.04100
-
P S A34.14000
-
外观形状brown cubic crystals
-
储存条件
-
稳定性
-
水溶解性
-
形态
-
H L B值
-
粘度
-
PH值
作用/用途
制备方法
将U的高价氧化物例如,UO3、U4O9、U3O8等在氢气流中加热到1000~1200℃就可制得还原产物UO2
制法 U3O8+2H2→3UO2+2H2O
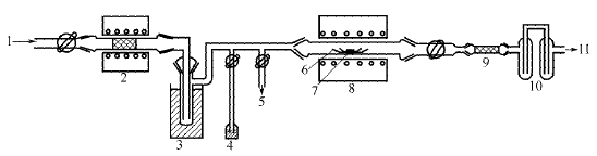
还原装置如图Ⅲ29所示。将八氧化三铀充分粉碎,放入干净的石英皿(或石英舟)中,铺成薄层,置于气密性高的石英管式炉的中央处,在氢气流中于1000~1100℃下加热约24h(当然,还原时间还可根据试样量及试样铺开状态而不同),使其还原为二氧化铀UO2。为了避免由于氧的混入而发生爆炸,必须确保系统的气密性,而且在氢气导入管式炉以前,须将全系统抽真空,再导入惰性气体(氩、氦等)以置换残余气体,反复操作以后,方可通入氢气升温。氢气出口用鼓泡器进行液封,气体流量可视鼓泡数来粗略调节。在氢气导入过程中,由于整个系统稍稍带压,为了不使气体漏出,应在磨口连接处涂以润滑脂。
如图所示 氢还原装置
1—氢气入口;2—铜网(450℃);3—液氮捕集器;4—水压力计;5—真空泵抽吸口;6—双层石英舟;
7—试样;8—氢还原炉(1000℃);9—硅胶;10—鼓泡器(水);11—氢气出口
还原完毕时,先切断加热炉的电源,停止导入氢气,在氢气氛中放冷至室温。由于定比组成的二氧化铀即使在常温下的空气中也容易被氧化,所以充分冷却以后,应迅速取出试样置于密封容器中保存。
二氧化铀是在高温下具有宽范围的非整比组成UO2±x的典型化合物,但在氢气流中进行还原时,达到1500℃的还原产物可认为是定比组成的UO2,一般情况下,温度愈高,愈可烧结制得高密度的产品。
安全提醒
MSDS
|
|||||||||||||||||||||||||||||||||||||||||||||||||||||||||||||||||||||||||||||||||||||||||||||||||||||||||||||||||||||||||||||||||||||||||||||||||||||||||||||||||||||||||||||||||||||||||||||||||||||||||||||||||||||||||||||||||||||||||||||||||||||||
原料简介
应用范围
毒性和生态
安全信息
| 风险声明 (欧洲) | 26/28-33-51/53 |
|---|---|
| 危险品运输编码 | UN 2912 |
| 包装等级 | III |
| 危险类别 | 7 |
| 海关编码 | 28441000 |
是否危险品
危险性
危险类别码
危险等级
触发危险方式
安全技术说明书
环境影响程度
包装与储运
相关供应商

搜索







