四氯化碲
用于碲有机化合物合成。
产品名称
-
中文名四氯化碲
-
英文名telluric chloride
-
中文别名氯化碲
-
英文别名
Tellurium chloride (TeCl4), (T-4)- Tetrachloro-λ-tellane Tellurium(IV) chloride Tellurium chloride, (T-4)- telluric chloride TETRACHLOROTELLURIUM tellurium tetrachloride MFCD00011262 Tellurium, tetrachloro- TELLURIUM CHLORIDE EINECS 233-055-6 -
常用名四氯化碲
-
C A S号10026-07-0
物理性质
-
密度3.26 g/mL at 25 °C(lit.)
-
沸点380 °C(lit.)
-
熔点224 °C(lit.)
-
化学式Cl4Te
-
结构式
1、摩尔折射率:无可用的
2、摩尔体积(cm3/mol):无可用的
3、等张比容(90.2K):无可用的
4、表面张力(dyne/cm):无可用的
5、介电常数:无可用的
6、极化率(10-24cm3):无可用的
7、单一同位素质量:269.781634 Da
8、标称质量:270 Da
9、平均质量:269.412 Da
-
闪点380°C
-
分子量269.412
-
精确质量269.781647
-
P S A
-
外观形状白色至黄色,易潮解的粉末,无气味
-
储存条件
密封干燥保存
-
稳定性
-
水溶解性
-
形态白色结晶,极易吸湿。
-
H L B值
-
粘度
-
PH值
作用/用途
用于碲有机化合物合成。
制备方法
由碲直接氯化制取。
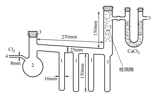
图XVI-9 制备TeCL4的装置
合成反应在如图所示的装置中进行,该反应装置由耶拿玻璃制成,装置的各部分熔接在一起,其中安瓿1的数目可根据实验者所需的取样数确定。
图制备TeCl4的装置在合成实验开始前,装置放在烘箱中烘干12h,趁热将50g经粉碎的纯碲从3处装入烧瓶2中,并将3处和4处关闭。随后一面从5处抽真空,一面用晃动的煤气灯火焰加热整套装置,以驱除附在装置壁上最后残余的水雾。冷却后将其从真空系统中拆下,并从4处通入干燥的不含氧的氮气,以驱净装置中的空气。然后缓慢地通入干燥的不含氧的氯气,并用煤气灯小心地加热烧瓶2,当反应开始后即可停止加热。反应一段时间后,烧瓶中的物质变为液体,开始为黑色,后来变为暗红色,最后成为琥珀黄色。在反应接近终了时可对烧瓶2稍稍加热。当产物变为纯黄色后,可一面稍加热,一面通入Cl2+HCl混合气体一段时间,以使可能生成的氯氧化物分解。最后在缓慢通入氯气的情况下,用晃动的煤气灯火焰加热,将产物蒸馏到安瓿中并将安瓿烧封。
安全提醒
MSDS
|
|||||||||||||||||||||||||||||||||||||||||||||||||||||||||||||||||||||||||||||||||||||||||||||||||||||||||||||||||||||||||||||||||||||||||||||||||||||||||||||||||||||||||||||||||||||||||||||||||||||||||||||||||||||||||||||||||||||||||||||||||||||||
原料简介
应用范围
毒性和生态
安全信息
| 符号 |
GHS05 |
|---|---|
| 信号词 | Danger |
| 危害声明 | H314 |
| 警示性声明 | P280-P305 + P351 + P338-P310 |
| 个人防护装备 | Eyeshields;Faceshields;full-face particle respirator type N100 (US);Gloves;respirator cartridge type N100 (US);type P1 (EN143) respirator filter;type P3 (EN 143) respirator cartridges |
| 危害码 (欧洲) | C:Corrosive; |
| 风险声明 (欧洲) | R34 |
| 安全声明 (欧洲) | S26-S36/37/39-S45 |
| 危险品运输编码 | UN 3260 8/PG 2 |
| WGK德国 | 3 |
| RTECS号 | WY2635000 |
| 包装等级 | II |
| 危险类别 | 8 |
是否危险品
危险性
危险类别码
危险等级
触发危险方式
安全技术说明书
环境影响程度
包装与储运
相关供应商








