硒化钠
产品名称
-
中文名硒化钠
-
英文名sodium selenide
-
中文别名
-
英文别名
EINECS 215-212-0 MFCD00014240 Sodium Selenide -
常用名硒化钠
-
C A S号1313-85-5
物理性质
-
密度2.625
-
沸点N/A
-
熔点>875ºC
-
化学式Na2Se
-
结构式
1、摩尔折射率:无可用的
2、摩尔体积(cm3/mol):无可用的
3、等张比容(90.2K):无可用的
4、表面张力(dyne/cm):无可用的
5、介电常数:无可用的
6、极化率(10-24cm3):无可用的
7、单一同位素质量:125.896062 Da
8、标称质量:126 Da
9、平均质量:124.9395 Da
-
闪点N/A
-
分子量124.94000
-
精确质量125.89600
-
P S A
-
外观形状
-
储存条件
保持贮藏器密封、储存在阴凉、干燥的地方,确保工作间有良好的通风或排气装置
-
稳定性
-
水溶解性
-
形态白色晶体,无气味
-
H L B值
-
粘度
-
PH值
作用/用途
制备方法
硒化钠是由硒经雕白粉(CH
2O·NaHSO
2·2H
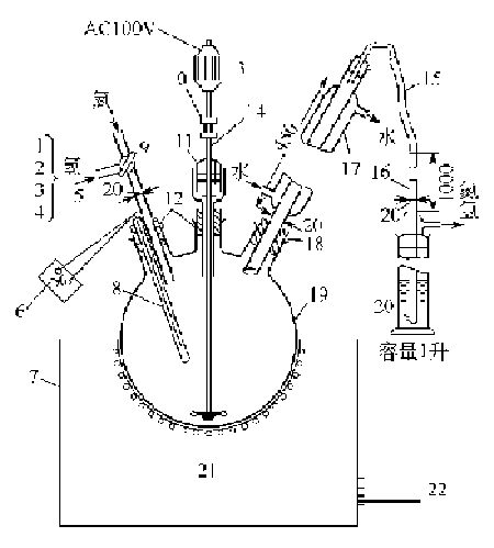
2O)还原而得。 金属钠与硒在液态氨中进行反应可制得硒化钠。操作方法也按照该节所述的一切细节来操作。制得的Na2Se是分析纯的。 如下图I-12 氢化钠制造装置:
1—氢气瓶;2—钛制塔;3—储气器;4—流速计;
5—玻璃管;6—温度计;7—铁箱;8—热电偶;
9—三通旋塞;10—接缝;11—油封;
12—橡胶塞;13—电动机;14—搅拌器;
15—胶管;16—鼓泡器管;17—冷却管;
18—橡胶塞;19—派热克斯烧瓶;
20—矿物油鼓泡器;21—反应烧瓶加热器;
22—变压器及100V交流电源安全提醒
MSDS
|
硒化钠MSDS英文版
|
原料简介
应用范围
毒性和生态
安全信息
| 危害码 (欧洲) | T,N |
|---|---|
| 风险声明 (欧洲) | 23/25-33-50/53 |
| 安全声明 (欧洲) | 20/21-28-45-60-61 |
| 危险品运输编码 | UN3134 |
| 包装等级 | II |
| 危险类别 | 4.3 |
是否危险品
危险性
危险类别码
危险等级
触发危险方式
安全技术说明书
环境影响程度
包装与储运
相关供应商







